索尼已获得一项新技术专利,该技术借助人工智能(AI)让PlayStation游戏自动运行(自己玩自己)。

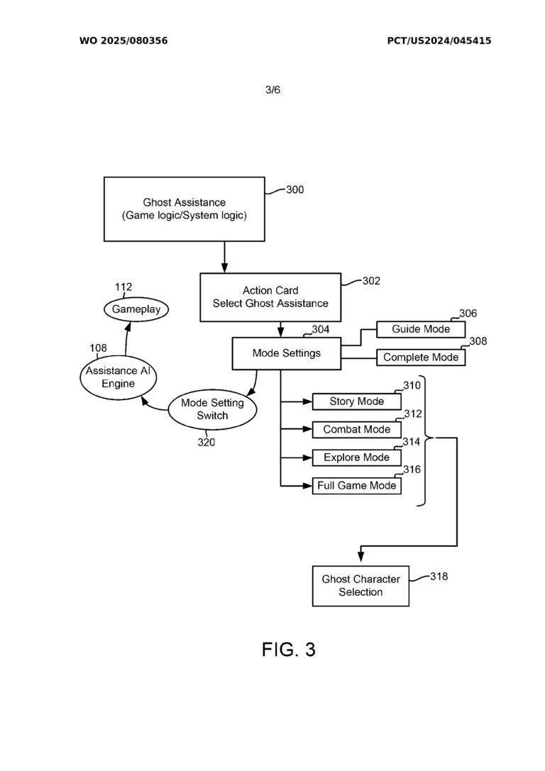
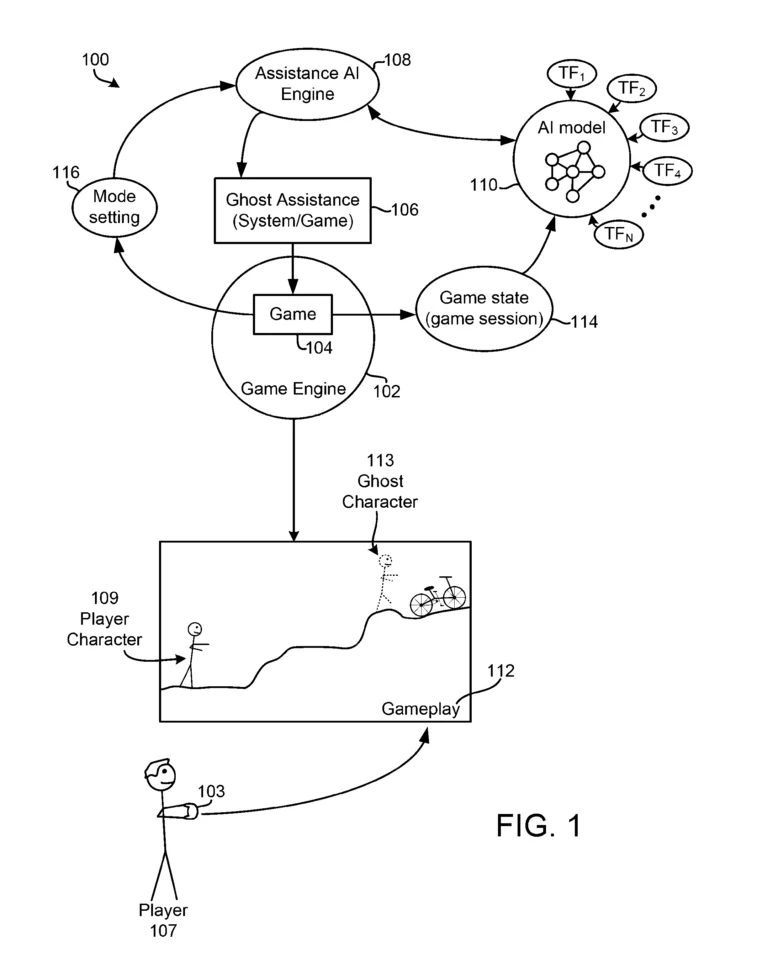
根据专利文件中的描述,“幽灵玩家”功能可以让玩家召唤一个由人工智能生成的玩家角色的“幽灵”版本,该幽灵可以演示关卡特定部分的解决方案,或者完全打通游戏。

该专利最初于2024年9月提交申请,但世界知识产权组织本周发布了一份关于该专利的国际现状报告。
例如,如果玩家在《神秘海域》游戏中遇到谜题卡住了,“引导模式”会先让AI控制的内森·德雷克演示解法,然后再由玩家自己动手解谜。“完成模式”则会直接帮玩家完成该关卡。
游戏中出现辅助玩家进行解谜或战斗的模式非常普遍。很多游戏允许玩家跳过某些遭遇战,或者是如果感觉挑战太难而降低难度,而解谜游戏通常会提供提示系统(hint system),帮助那些完全卡关的玩家。
然而,一些索尼的现代游戏,例如《战神5:诸神黄昏》,因在解谜过程中给予玩家过多帮助而受到批评,因为NPC同伴会在谜题一开始就大声暗示谜题的答案。
据称,该AI模型将使用现有的游戏录像进行训练,而不是使用开发者预先录制的一系列输入。

AI生成的“幽灵玩家”系统似乎是PS5游戏帮助系统的升级版,该系统与PS5一同发布。在支持的情况下,PS5游戏帮助系统可以通过PS5卡片系统,以图片或视频的形式为玩家提供指导,玩家可以在游戏中调出这些卡片。
虽然该系统并未得到广泛应用,但由于无需在手机等其他屏幕上调出单独的指南,因此受到了喜欢收集奖杯的PlayStation粉丝的称赞。

人工智能驱动的游戏内助手在各种技术领域正变得越来越普遍。去年,微软推出了Copilot for Gaming,称之为“人工智能驱动助手”,旨在“成为您个性化的游戏伙伴”。
该系统最初定位为面向游戏经验较少玩家的指导工具。当时展示的一个例子是,一位《我的世界》玩家向“游戏助手”(Copilot for Gaming)询问木头可以做什么。
另一个例子是,玩家在Xbox移动应用上询问AI:“我想重新玩《帝国时代4》,你能帮我安装一下吗?” AI随后为玩家安装了游戏,并主动提出回顾一下玩家上次玩游戏时的剧情。